Un brevet de l’US Navy révèle une arme sous-marine utilisant le son

  • Dernière mise à jour le 2 mai 2007.

L’US Navy n’est certainement pas en manque d’idées d’armes non conventionnelles àdévelopper. Elle semble même avoir encore beaucoup d’autres idées dans son sac. Un brevet qu’elle a récemment déposé révèle une nouvelle arme qui prend une voie légèrement différente pour atteindre sa cible.

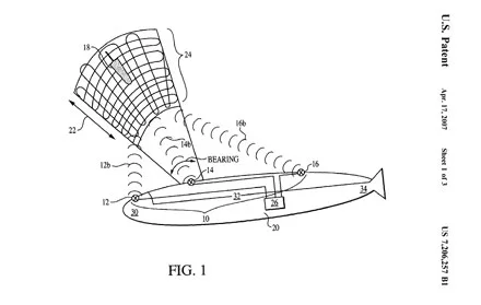
Schéma de fonctionnement de l’arme
Ce schéma accompagne le brevet

Même si elle est non-conventionnelle, elle ne semble certainement pas mortelle, puisqu’elle utilise un sonar pour créer ce que la Navy décrit comme "une cavitation acoustique à distance". Elle est supposée détruire les torpilles, les mines et tout autre "objet indésirable" situé à portée.

Mieux encore, la Navy indique que cela peut être fait jusqu’à une distance de près d’un kilomètre, ce qui est apparemment beaucoup plus loin que d’autres exemples similaires de la technologie.

Ce qui est moins clair, cependant, c’est comment la Navy prévoit de faire face aux essaims apparemment inévitables de dauphins en colère passant à l’attaque pour se venger.

Consulter le brevet en ligne.

Référence :

Engadget (Etats-Unis)